728x90
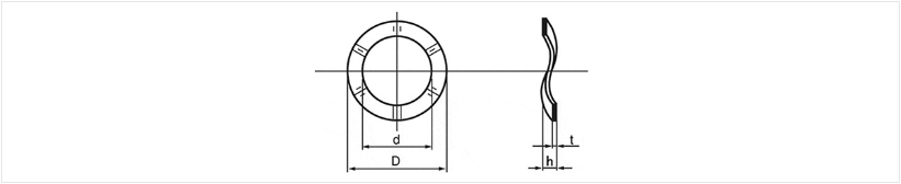
이와타 규격 철 웨이브 와셔 외형도 / 치수


728x90
| 호칭 Washer No. |
(표준 규격)웨이브 와셔의 치수 I.W.T. Wave Washer Standard Dimensions |
||||
| 외경 D Outside dia |
내경 d Inside dia |
판 두께 t Thickness |
자유 높이 h(약) Free height |
등분 산 수 W waves |
|
| W-5 W-6 W-8 |
9.5 11.0 12.5 |
5.4 6.4 8.5 |
0.30 0.30 0.30 |
1.5 1.5 2.0 |
3 3 3 |
| W-10 W-12 W-15 |
14.5 17.0 20.0 |
10.5 12.5 15.5 |
0.30 0.30 0.30 |
2.0 2.5 2.5 |
3 3 3 |
| W-16 W-17 W-20 |
22.5 23.5 29.1 |
16.7 17.7 22.1 |
0.30 0.30 0.30 |
2.5 3.0 3.0 |
3 3 3 |
| W-23 W-25 W-26 |
31.0 33.0 34.0 |
24.0 26.0 26.6 |
0.30 0.30 0.30 |
3.5 3.5 3.5 |
3 3 3 |
| W-30 W-32 W-35 |
39.2 45.5 47.8 |
30.5 34.3 36.5 |
0.30 0.30 0.30 |
4.0 4.5 4.5 |
3 3 3 |
| W-38 W-40 W-45 |
50.8 53.3 58.3 |
39.5 41.0 46.0 |
0.30 0.30 0.30 |
5.0 5.0 5.5 |
3 3 3 |
| W-46 W-50 W-53 |
60.5 67.0 69.6 |
47.3 51.5 54.3 |
0.40 0.40 0.50 |
5.5 5.5 6.0 |
3 3 3 |
| W-55 W-60 |
73.2 78.2 |
57.0 62.0 |
0.50 0.50 |
6.0 6.5 |
3 3 |
※ 출처 : 한국미스미 홈페이지
728x90
'팁' 카테고리의 다른 글
| 경도 환산표 (SAE J 417 / 1983년 개정) (47) | 2024.01.20 |
|---|---|
| 아시아나항공 마일리지 사용 좌석승급 유효기간 / 환급 / 여정변경 안내 (55) | 2024.01.20 |
| 반지 사이즈 / 반지 호수 표 (KS 규격) (47) | 2024.01.20 |
| 차량등록사업소 영업용(운수사업용) 자동차 명의이전 등록 구비·필요서류 (51) | 2024.01.20 |
| 고용노동부 청년지원정책 청년도전 지원사업 (46) | 2024.01.20 |
댓글